千億市值龍頭,謀求子業務IPO


宣告“A拆H”5個月后,近千億市值的聲光電龍頭企業,正式邁出第一步。
1月20日,歌爾微電子股份有限公司(下稱:歌爾微)遞交招股書,計劃在香港聯交所主板上市。這也是該公司創業板IPO撤單8個月后,再次重啟IPO。
早在2020年11月,歌爾股份就曾宣告“A拆A”上市計劃。然而在2022年10月過會后,歌爾微一直未提交注冊,并于2024年5月,正式撤回A股上市申請。
四年多時間,市場風云變幻,歌爾微更難言風光。
頭頂“中國第一MEMS傳感器企業”光環,歌爾微的業績在2021年達到高峰后,連續兩年下滑,并因2023年“業績未達標”導致其股權期權激勵計劃中對應的部分“注銷”。
此外在估值方面,早在2021年3月進行Pre-IPO輪融資時,歌爾微的估值就已超200億元。歷經三年多發展,歌爾微在2024年4月的胡潤《2024全球獨角獸榜》上,仍是一家價值達280億元的獨角獸企業。
換言之,業績接連下滑、“業績不達標”陰影下的歌爾微,企業估值似乎也正處于“瓶頸期”。
如今,歌爾股份二度籌劃分拆上市,歌爾微轉戰港交所,急什么?底氣何在?
千億市值龍頭,一舉拆出逾200億估值超級獨角獸
歌爾股份是中國電聲行業龍頭企業,也是全球微電聲領域領導廠商。
自2010年打入“果鏈”后,歌爾股份股價、業績雙雙駛入快車道。2021年前后,其股價一度接近60元/股,市值最高更是突破2000億元。截至1月21日收盤,歌爾股份漲8.41%報27.20元/股,總市值945.46億元。

2008年至今歌爾股份股價走勢,來源:雪球
但作為“果鏈”企業,無論是歌爾股份,還是歌爾微,都存在對蘋果的依賴性。近年來,蘋果在全球進行供應鏈調整。當看到其他果鏈因失去訂單跌落時,打破這種依賴,也成為了歌爾股份業務調整的重要方向。
2020年以來,受政策支持,“A拆A”頻現,分拆子公司一度成為理順業務架構、拓寬融資渠道、獲得合理估值、提升整體競爭力的重要方式。
分拆歌爾微,正是歌爾股份在多重因素影響下的“未雨綢繆”和“順勢而為”。
結果證明了歌爾股份敏銳的洞察力,2023年,該公司“突然”遭遇了蘋果砍單。據其2023年報,歌爾股份當年實現營業收入985.74億元,同比下滑6.03%,歸母凈利潤為10.88億,同比下降37.79%。2024年前三季度,歌爾股份營收則為696.46億元,較上年同期下降5.82%。
經過20多年的發展,歌爾股份逐步發展成為擁有精密零組件、智能聲學整機、智能硬件三大主營業務的大型企業。其中,歌爾微正是歌爾股份精密零組件業務的重要組成部分。在重組前,歌爾微的部分銷售和采購業務通過歌爾股份下屬子公司開展,從而形成了代銷和代采關系。
2019年12月,歌爾股份以微電子業務資產包對其全資子公司濰坊微電子進行增資,將微電子業務相關的資產、負債轉移至濰坊微電子,隨后以濰坊微電子100%股權及榮成微電子100%股權對歌爾微有限增資,從而完成了微電子業務重組。
此后,歌爾微迅速啟動客戶、供應商認證及合同轉簽等工作。在遞交A股招股書前,該公司就基本完成了該項工作。
背靠歌爾股份,再加上不俗的市場表現,也讓歌爾微在資本市場上獲得了較高的估值。據悉,在2021年3月,歌爾微進行了Pre-IPO輪融資,微電子創新、共青城春霖、青島恒匯泰等對公司合計增資約19.50億元,增資價格為22.86元/股,歌爾集團同樣斥資2億元參與了增資,本輪投資者合計取得歌爾微增資擴股后10.4075%股權。
據此計算,歌爾微此輪融資的估值約206.58億元,已躋身獨角獸行列。如果按照此前歌爾微創業版IPO發行12%股份,募資31.9133億元計算,其發行估值達265.94億元。
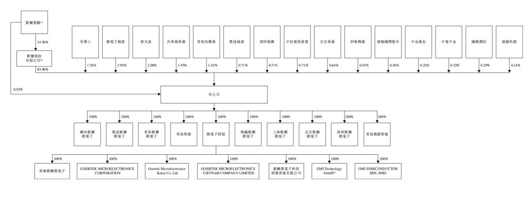
招股書顯示,IPO前,歌爾股份直接持有歌爾微83.40%股份,系控股股東。

來源:歌爾微招股書
此外,微電子創新持股為3.93%,唐文波持股2.00%,共青城春霖持股1.93%,宋青林持股1.76%,青島恒匯泰持股為1.43%,歌爾集團直接持股0.92%。
需要注意的是,近期伴隨IPO節奏收緊,“A拆A”在資本市場上逐漸降溫,2024年以來,已有上汽集團拆分捷氫科技、大族激光分拆大族富創得、拓邦股份分拆研控自動化、沃爾核材分拆樂庭智聯等四家分拆上市計劃終止。
如今,歌爾股份二度籌劃分拆上市、歌爾微重啟IPO赴港上市,或許與后者業績回暖不無關系。
去年前9月營收超32億,正努力改善芯片外采依賴
招股書顯示,歌爾微是一家智能傳感交互解決方案提供商,以一站式智能傳感交互平臺為核心,能夠為消費電子、汽車電子、智能家居、工業應用、醫療健康等領域提供智能化的傳感交互體驗。
歌爾微構建了一站式平臺UniSense,涵蓋了材料研發、芯片設計、封裝測試、算法軟件開發、系統設計等智能傳感交互解決方案所有關鍵技術環節。該平臺令歌爾微能夠在不同的應用領域快速復用及擴展其全棧能力,使得公司能夠根據客戶需求以最優的成本提供覆蓋傳感器、SiP及傳感交互模組在內靈活多樣的高性能智能傳感交互解決方案。
根據CIC的報告,以2023年銷售額計,歌爾微是全球第八大、中國第一大智能傳感交互解決方案提供商。于往績記錄期間,公司的傳感器累計出貨量超過40億顆。以2023年銷售額計,歌爾微是全球第四大傳感器提供商和全球第一大聲學傳感器提供商。
歌爾微的解決方案種類豐富,截至2024年9月30日,已超400種,廣泛搭載于智能手機、智能耳機、VR/AR設備、智能汽車及智能家居等約30種智能終端,根據CIC的報告,公司是中國智能傳感交互解決方案組合最豐富的提供商。其主要終端客戶包括蘋果、榮耀、小米、OPPO、哈曼、法雷奧等,并與Meta、蔚來、大疆等客戶建立了業務關系。
招股書顯示,2019-2023年及2024年前三季度(下稱:報告期),歌爾微的營業收入分別約為25.66億、31.60億、33.48億、31.21億、30.01億、32.66億元,歸母凈利潤/期內利潤分別約為3.09億、3.46億、3.29億、3.26億、2.89億、2.43億元。

來源:歌爾微招股書
不難看出,在經歷2021年的高峰后,歌爾微曾連續兩年業績下滑?;诖?,歌爾股份也在2023年財報中提到:因子公司歌爾微2023年度業績未達標,其2020年股權期權激勵計劃第三個行權期未達行權條件,歌爾微已將對應的股權期權進行注銷。
2024年前三季度業績大幅回暖,歌爾微方面表示,主要歸因于毛利增加,主要由于消費電子行業的市場需求增加及推出性能更高、價格更高的傳感器,導致傳感器的銷量增加及平均售價上漲;用于耳機的SiP解決方案出貨量增加;車載類傳感模組和消費類傳感模組銷售增加。
需要注意的是,潛藏在業績波動之下,歌爾微“外購芯片”,仍需保持關注。
歌爾微自身,也在風險提示中提到,假如“公司無法以及時且具成本效益的方式取得關鍵材料或元器件,特別是芯片,或無法提高自研芯片的利用率,我們解決方案的質量、生產及銷售可能會受到重大不利影響”。
所謂外購芯片業務,即歌爾微就外購芯片的參數、工藝向供應商提出建議,對供應商芯片進行設計變更,與外購芯片供應商共同開發適合客戶產品的芯片。
招股書顯示,報告期內,歌爾微向英飛凌采購金額分別約為14.08億、15.86億、15.44億、12.12億、9.11億、14.55億元,占采購總額的比例分別為64.81%、65.40%、58.78%、52.7%、47.2%、55.7%。
在業務開展中,歌爾微芯片原材料以外購為主、自研為輔。根據此前歌爾微A股招股書,2019-2022年,公司搭載自研芯片的MEMS產品合計出貨量分別為2.38億、2.49億、1.92億、1.46億顆,總體呈下降趨勢。當然,歌爾微也在積極尋求改變。截至2024年9月30日,公司搭載自研芯片的傳感器出貨量猛增至4.47億顆,占同期總出貨量的29.7%。
受自研芯片比例較小的影響,歌爾微毛利率一直處于較低水平。報告期內,公司毛利率分別為22.85%、22.37%、22.87%、18.5%、17.2%、19.4%。作為對比,僅2020年至2023年上半年,歌爾微可比同行的平均毛利率就分別為45.27%、44.08%、45.23%、47.10%。
值得一提的是,自研芯片自然與研發投入呈正相關。招股書顯示,報告期內,歌爾微的研發投入分別約為1.15億、2.04億、2.65億、2.59億、2.64億、2.24億元,呈逐年上漲趨勢。
截至2024年9月30日,歌爾微持有的現金及現金等價物為20.49億元。
本文鏈接:http://knowith.com/news-23-192414.html千億市值龍頭,謀求子業務IPO
聲明:本網頁內容由互聯網博主自發貢獻,不代表本站觀點,本站不承擔任何法律責任。天上不會到餡餅,請大家謹防詐騙!若有侵權等問題請及時與本網聯系,我們將在第一時間刪除處理。
《經開區深化國家服務業擴大開放綜合示范區建設工作方案》
【解讀】《關于加強科技型企業全生命周期金融服務的通知》
我國科學家成功實現無串擾的量子網絡節點
“仲華”熱物理試驗裝置又有兩大中心開工
五部門開展智能網聯汽車“車路云一體化”應用試點工作
科技部關于印發《國家科學技術獎提名辦法》的通知
解讀《關于優化中央企業資產評估管理有關事項的通知》
《自然資源數字化治理能力提升總體方案》
科技部辦公廳 財政部辦公廳關于開展2024年中央級高等學校和科研院所等單位重大科研基礎設施和大型科研儀器開放共享評價考核工作的通知
【公示】2023-2025年度北京市燃料電池汽車示范應用項目擬承擔“示范應用聯合體” 牽頭企業公示
小白必學:怎么找商家提DY月付小二分享秒回攻略: